時間:2024-03-30 08:22:41 點擊數:
導讀
天輪裝置是落地式多繩提升機重要組成部分,是影響整個提升系統安全、穩定運行的關鍵部件。由于其使用工況惡劣,在使用過程中會出現許多問題,嚴重時影響礦井的生產運行。為降低天輪裝置因故障整體更換帶來的高額生產成本,筆者列舉了天輪裝置使用過程中的常見問題,并分析其原因,給出相應的修復方案,對類似天輪裝置的返廠修復具有指導意義。
天輪裝置是多繩摩擦式提升機的重要承力部件之一,其作用是支托提升機摩擦輪到提升容器之間的鋼絲繩,用來改變鋼絲繩的方向,即導向作用。近年來隨著煤炭資源的整合,礦井設備更新換代,提升機的提升能力和規格也隨之變大,如中信重工機械股份有限公司生產的 JKMD-6.2×4 型提升機,zui 大靜張力為1700kN,zui 大靜張力差為340 kN,1 組天輪裝置約重 82t。特別對大規格的提升機來說,如因使用中出現問題而重新采購 1 組天輪裝置,生產成本相當高。筆者結合以往天輪裝置修復實際案例,列舉了天輪裝置使用過程中的常見故障,分析故障原因,并給出了相應的修復方案,降低了用戶的生產成本,對類似天輪裝置的返廠修復具有指導意義。
1 天輪裝置結構分析
目前在用的多繩摩擦式提升機天輪裝置結構有兩種,普通天輪裝置和新型天輪裝置。
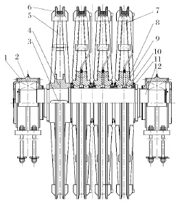
大部分天輪裝置為普通天輪結構,主要由軸承座、兩端軸承、天輪軸、游動輪、固定輪、軸瓦、襯墊和卡箍等組成,如圖1所示。其中,左端輪子為固定輪,與天輪軸靠平鍵聯接;右側 3 個輪子為游動輪,游動輪與天輪軸之間有軸瓦,軸瓦與游動輪轂之間靠高強度螺栓聯接;軸瓦內部有儲油槽,通過潤滑油脂來實現游動輪與天輪軸靈活轉動。當每根鋼繩的線速度不完全相同時,游動輪與天輪軸之間可自由地相對轉動,防止鋼絲繩與襯墊之間產生滑動摩擦,避免襯墊過度磨損,起到保護鋼絲繩的作用。zui 右側游動輪的軸向定位通過安裝在天輪軸環形槽內的兩半卡箍實現,為了保證各游動輪之間的間隙合適 (一般為0.2~0.5 mm),卡箍的厚度根據安裝實際情況進行單配。該結構的天輪裝置應用較為廣泛,技術成熟。

