時間:2024-08-26 08:08:31 點擊數:
纏繞式提升機是礦山常用提升設備,是礦井連通井上和井下的重要通道。其中鋼絲繩在整個提升系統中起著重要作用,因單繩纏繞式提升機的提升載荷由單根鋼絲繩承載,若鋼絲繩出現問題未及時解決,會引發重大安全事故。
某礦井的纏繞式提升機長期用于提升毛石,年檢時更換主提升繩后進行提礦試運行,在后續的日常檢查中發現,罐籠運行至某中段時,對應的鋼絲繩磨損嚴重,且繩徑變化迅速,經連續兩周測量,zui細處繩徑已達 27.1 mm (原繩徑為 28.0 mm),磨損量達 1.0 mm,若不加管理,伴隨磨損的增加,勢必釀成大禍。經仔細觀察發現,鋼絲繩磨損的位置恰處于鋼絲繩換層之處,此處的鋼絲繩與天輪外偏角處于zui大值?!督饘俜墙饘俚V山安全規程》第 6.4.4.12 條規定,在纏繞式提升系統中,卷筒至天輪的鋼絲繩zui大偏角不應超過 1°30′,超出此值,鋼絲繩與天輪輪緣會產生干涉,進而磨損鋼絲繩,而該礦山所使用的提升系統屬于該情形。
面對此種狀況,需對鋼絲繩天輪偏角進行調整,調整方法諸多,一種方法是更換天輪襯墊,以減少鋼絲繩對天輪輪緣的磨損,但隨使用時間的延長,襯墊磨損亦會加劇,鋼絲繩終將再度產生干涉;另一方法為調整滾筒的水平位置,使滾筒整體平移,將原基礎拆除并重新施工,但工程量大且耗時費力。
筆者提出一種簡便易行的方法,使天輪底座在水平方向上作微小角度的轉動,令天輪入繩點正對相應滾筒的中 心,使鋼絲繩的內外偏角近乎相等,從而達到偏角調整的效果。
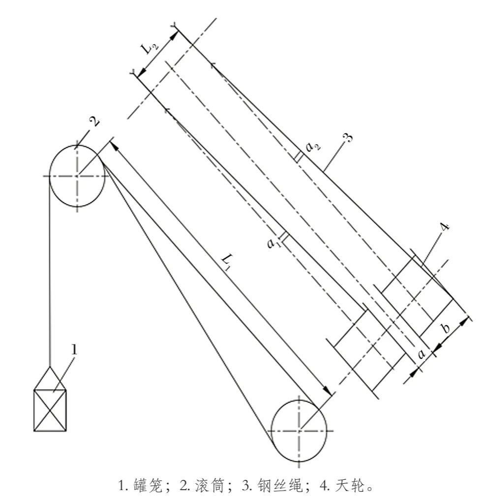
1 調整前鋼絲繩和天輪內外偏角的測量
1.1 天輪內外偏角測定方案
天輪內外偏角示意如圖 1 所示,為了確定是否因鋼絲繩內外偏角偏大導致的鋼絲繩異常磨損,需要對提升機的內外偏角進行測量。由圖 1 可知,α1 為天輪鋼絲繩內偏角,α2 為天輪鋼絲繩外偏角,當鋼絲繩處于左右擋繩板附近時,鋼絲繩與天輪的偏角達到zui大。


鑿井絞車是一種專門用于開鑿井眼的機械設備。它通常由電機、減速器、絞車機構、鉆桿、磨具、井口安全裝置等部件組成,結構為纏繞式,其中主軸裝置包括主軸、齒輪、卷筒、制
穩車又叫做穩盤絞車、鑿井絞車,是煤礦井下常用的提升設備。JZ系列鑿井絞車主要用于煤礦、金屬礦、非金屬礦豎井井筒掘進時懸吊吊盤,水泵,水管,注漿管,鳳筒等掘進設備和張緊穩